东营新营大金属制品有限责任公司
English
中文
TEL:0546-8618928
HOME
公司简介
新闻中心
产品中心
联系我们
HOME
公司简介
新闻中心
产品中心
联系我们
您当前的位置:
首页
>>
产品中心
>>
锚、锚机、锚支架
丹佛斯锚
发表于:2025-06-24 18:46:07
来源:本站
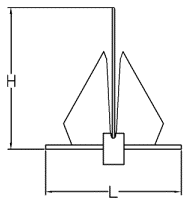
可提供抓力证明,丹佛斯锚可穿透沙子,泥土和海中杂草。电弧焊。丹佛斯锚可快速固定。可平放。材质分为碳钢热镀锌和镜面抛光不锈钢AISI316。
相关标签:
上一个:
布鲁斯锚
下一个:
海军锚