东营新营大金属制品有限责任公司
English
中文
TEL:0546-8618928
HOME
公司简介
新闻中心
产品中心
联系我们
HOME
公司简介
新闻中心
产品中心
联系我们
您当前的位置:
首页
>>
产品中心
>>
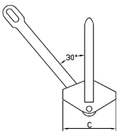
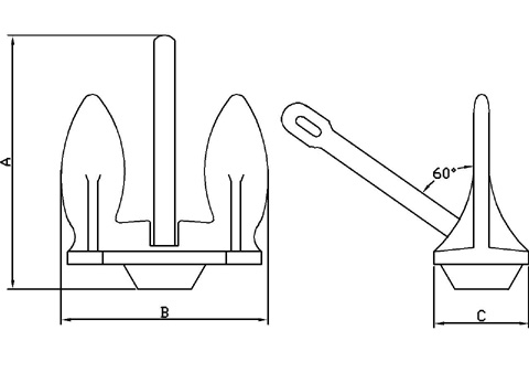
锚、锚机、锚支架
海军锚
发表于:2025-06-24 18:48:54
来源:本站
相关标签:
上一个:
丹佛斯锚
下一个:
河锚